| Operation and Leakage Check |
| Component | Procedure |
| Integrated Brake Actuation Unit (IBAU) (A) and Pressure Source Unit (PSU) (B) | Check brake operation by applying the brakes during a test drive. If the brakes do not work properly, check the IBAU and PSU. Replace IBAU and PSU as an assembly if it does not work properly or if there are signs of leakage. |
| Piston cup and pressure cup inspection (B) | Check brake operation by applying the brakes. Look for damage or signs of fluid leakage. Replace the IBAU as an assembly if the pedal does not work properly or if there is damage or signs of fluid leakage. |
| Brake hoses (C) | Look for damage or signs of fluid leakage. Replace the brake hose with a new one if it is damaged or leaking. |
| Caliper piston seal and piston boots (D) | Check brake operation by applying the brakes. Look for damage or signs of fluid leakage. If the pedal does not work properly, the brakes drag, or there is damage or signs of fluid leakage, disassemble and inspect the brake caliper. Replace the boots and seals with new ones whenever the brake caliper is disassembled. |

| Bleeding of Brake System |
|
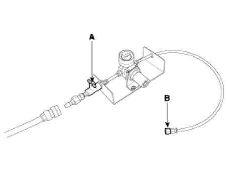
| 1. | Before installing the SST on the vehicle, close the airshut-off valve (A) to adjust the pressure gauge to thestandard value.
|
| 2. | After connecting an air hose and opening the airshut-off valve (A), adjust the pressure gauge (B) to the standard value.
|
| 3. | Close the air shut off valve (A) and remove the plug(B).
|
| 4. | Remove the brake reservoir tank cap. |
| 5. | Install the cap (A) of SST (0k585-E8100) on the reservoir tank.
|
| 6. | Make sure the check valve is closed and connect SST (09580-3D100) (A) to the adapter (B).
|
| 1. | To remove the SST (09580-3D100) from the vehicle, close the air shut-off valve (A).
|
| 2. | Remove SST (09580-3D100) (A) and the cap of SST (0k585-E8100) (B) on the reservoir tank.
|
| 3. | Install the brake reservoir tank cap. |

|
| 1. | Make sure the brake fluid in the reservoir is at the MAX (upper) level line. |
| 2. | Have someone slowly pump the brake pedal several times, and then apply pressure. |
| 3. | Loosen the right-rear brake bleed screw (A) to allow air to escape from the system. Then tighten the bleed screw securely. [Front]
[Rear]
|
| 4. | Repeat the procedure for wheel in the sequence shown below until air bubbles no longer appear in the fluid.
|
| 5. | Refill the master cylinder reservoir to MAX (upper) level line. |
Inspection1.Turn the ignition switch OFF.2.Disconnect the temperature control actuator connector.3.Verify that the temperature control actuator operates to the cool position when connecting 12V to terminal 3 and grounding terminal 7.Verify that the temperature control actuator operates to the warm position when connected in reverse.
Component Location1. Blower unit assembly Components1. Duct Seal2. Intake duct case3. Air intake door assembly4. Intake door5. Seal6. Intake duct case (A)7. Air filter cover (A)8. Intake actuator9. Air filter cover10. Air filter 11. Blower unit pad12.