Hyundai Ioniq (AE): Audio / Antenna. Repair procedures

Inspection
Antenna Cable
1.
Check for continuity between the center poles of antenna cable.

2.
Check for continuity between the outer poles of antenna cable. There should be continuity.

3.
If there is no continuity, replace the antenna cable.
4.
If there is no continuity, replace the antenna amplifier.
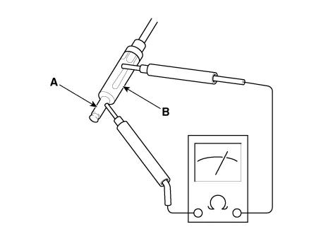
5.
Check for continuity between the center pole (A) and outer pole (B) of antenna cable. There should be no continuity.

6.
If there is continuity, replace the antenna cable.
Removal
Roof Antenna
1.
Disconnect the negative (-) battery terminal.
2.
Remove the roof trim.
(Refer to Body - "Roof Trim Assembly")
3.
Disconnect the roof antenna connector (A).

4.
Remove the roof antenna after loosening a nut (A).

Installation
Roof Anenna
1.
Connect the roof antenna connectors.
2.
Install the roof trim assembly.
   
•
Make sure that the cables and connectors are plugged in properly.
•
Check the audio system.

    Inspection1.Troubleshooting for Speaker(1)Basic inspection of speakerInspect the sound from speaker after verifying that the speaker mounting screws is removed and the wiring connector is connected precisely to remove vibration transmitted from body trims and surrounding parts.

    Components1. Left Remote Control Switch (Audio + Hands free)2. Right Remote Control Switch(Cruise+Trip Computer)

    Other information:

    Hyundai Ioniq (AE) 2017-2022 Service & Repair Manual: Smart Cruise Control (SCC) Switch. Repair procedures

    Removal1.Disconnect the negative (-) battery terminal.2.Remove the steering wheel assembly.(Refer to Steering System -"Steering Wheel")3.Remove the steering back cover (A).4.Remove the steering remote control connector (A).5.Remove the steering remote control (A), after loosening the screws.

    Hyundai Ioniq (AE) 2017-2022 Service & Repair Manual: Cruise Control Switch. Repair procedures

    Removal1.Disconnect the negative (-) battery terminal.2.Remove the steering wheel assembly.(Refer to Steering System - "Steering Wheel")3.Remove the steering back cover (A).4.Remove the steering remote control connector (A).5.Remove the steering remote control after loosening the screws.

    Categories

     
    Copyright © 2026 www.hioniqae.com - 0.0143