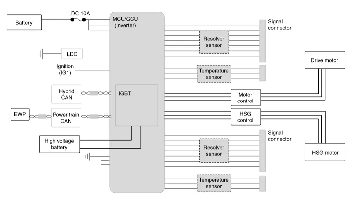
| Diagram System Circuit |

| MCU terminal input/output signal connector |

| Functions of MCU Terminal |
|
Terminal
|
Signal
|
Usage
|
| 5 | VB1 | Constant power (B+) |
| 6 | VB2 | Constant power (B+) |
| 3 | GND1 | Power ground |
| 4 | VB3 | Constant power (B+) |
| 1 | GND2 | Power ground |
| 2 | GND3 | Power ground |
| 73 | IGN | Ignition |
| 74 | - | |
| 75 | L_CAN_H | C_CAN_[High] |
| 76 | L_CAN_L | C_CAN_[Low] |
| 77 | - | |
| 78 | P_CAN_H | P - CAN [High] |
| 79 | P_CAN_L | P - CAN [Low] |
| 80 | - | |
| 81 | H_CAN_H | H - CAN [High] |
| 82 | H_CAN_L | H - CAN [Low] |
| 83 | - | |
| 84 | - | |
| 85 | - | |
| 86 | - | |
| 87 | H_REZ+ | HSG resolver (+) power |
| 88 | H_REZ- | HSG resolver (-) power |
| 89 | - | |
| 90 | - | |
| 91 | - | |
| 92 | - | |
| 93 | M_REZ+ | Motor resolver (+) power |
| 94 | M_REZ- | Motor resolver (-) power |
| 51 | - | |
| 52 | - | |
| 53 | - | |
| 54 | - | |
| 55 | - | |
| 56 | - | |
| 57 | - | |
| 58 | - | |
| 59 | - | |
| 60 | - | |
| 61 | - | |
| 62 | H_REZS1 | HSG resolver sensor (S1) input signal |
| 63 | H_REZS3 | HSG resolver sensor (S3) input signal |
| 64 | H_REZS2 | HSG resolver sensor (S2) input signal |
| 65 | H_REZS4 | HSG resolver sensor (S4) input signal |
| 66 | H_REZ_S | SHEILD |
| 67 | - | |
| 68 | M_REZS1 | Motor resolver sensor (S1) input signal |
| 69 | M_REZS3 | Motor resolver sensor (S3) input signal |
| 70 | M_REZS2 | Motor resolver sensor (S2) input signal |
| 71 | M_REZS4 | Motor resolver sensor (S4) input signal |
| 72 | M_REZ_S | SHEILD |
| 29 | - | |
| 30 | - | |
| 31 | ||
| 32 | ||
| 33 | ||
| 34 | ||
| 35 | - | |
| 36 | ||
| 37 | ||
| 38 | START_SIGNAL | Start signal input signal |
| 39 | - | |
| 40 | - | |
| 41 | - | |
| 42 | HSG_TM_GND | Sensor ground |
| 43 | HSG_TM | HSG temperature sensor input signal |
| 44 | HSG_TM_S | SHEILD |
| 45 | - | |
| 46 | - | |
| 47 | - | |
| 48 | MOT_TM_GND | Sensor ground |
| 49 | MOT_TM | Motor temperature sensor input signal |
| 50 | MOT_TM_S | SHEILD |
| 7 | - | |
| 8 | - | |
| 9 | - | |
| 10 | - | |
| 11 | - | |
| 12 | - | |
| 13 | - | |
| 14 | - | |
| 15 | BRAKE_SW2 | Brake switch 2 input signal (NC, IG1) |
| 16 | BRAKE_SW1 | Brake switch 1 input signal (NO, B+) |
| 17 | ||
| 18 | ||
| 19 | ||
| 20 | ||
| 21 | ||
| 22 | ||
| 23 | ||
| 24 | ||
| 25 | ||
| 26 | ||
| 27 | ||
| 28 |
| MCU terminal input/output signal |
|
Terminal
|
Signal
|
Usage
|
Condition
|
Type
|
Level
|
Waveform
|
| 5 | VB1 | Constant power (B+) | Constant | DC Voltage | Battery Power |   |
| 6 | VB2 | Constant power (B+) | Constant | DC Voltage | Battery Power |   |
| 3 | GND1 | Power ground | Constant | DC Voltage | Max. 50 mV | |
| 4 | VB3 | Constant power (B+) | Constant | DC Voltage | Battery Power | |
| 1 | GND2 | Power ground | Constant | DC Voltage | Max. 50 mV | |
| 2 | GND3 | Power ground | Constant | DC Voltage | Max. 50 mV |   |
| 73 | IGN | Ignition | IG ON | DC Voltage | Battery Power |   |
| 74 | - | |||||
| 75 | L_CAN_H | C - CAN [High] | IG ON | Pulse | Dominant : 2.75 - 4.5 (3.5) V Recessive : 2.0 - 3.0 (2.5) V |
|
| 76 | L_CAN_L | C - CAN [Low] | IG ON | Pulse | Recessive : 2.0 - 3.0 (2.5) V Dominant : 0.5 - 2.25 (1.5) V | |
| 77 | - | |||||
| 78 | P_CAN_H | P - CAN [High] | IG ON | Pulse | Dominant : 2.75 - 4.5 (3.5) V Recessive : 2.0 - 3.0 (2.5) V |
|
| 79 | P_CAN_L | P - CAN [Low] | IG ON | Pulse | Recessive : 2.0 - 3.0 (2.5) V Dominant : 0.5 - 2.25 (1.5) V | |
| 80 | - |   |   |   |   | |
| 81 | H_CAN_H | H - CAN [High] | IG ON | Pulse | Dominant : 2.75 - 4.5 (3.5) V Recessive : 2.0 - 3.0 (2.5) V |
|
| 82 | H_CAN_L | H - CAN [Low] | IG ON | Pulse | Recessive : 2.0 - 3.0 (2.5) V Dominant : 0.5 - 2.25 (1.5) V | |
| 83 | - |   | ||||
| 84 | - |   | ||||
| 85 | - | |||||
| 86 | - | |||||
| 87 | H_REZ+ | HSG resolver (+) power | IG ON | Differential, Analog | 14 Vpp sine wave |
|
| 88 | H_REZ- | HSG resolver (-) power | ||||
| 89 | - |   |   |   |   | |
| 90 | - | |||||
| 91 | - |   | ||||
| 92 | - |   | ||||
| 93 | M_REZ+ | Motor resolver (+) power | IG ON | Differential, Analog | 14 Vpp sine wave |
|
| 94 | M_REZ- | Motor resolver (-) power | ||||
| 51 | - |   |   |   |   | |
| 52 | - |   |   |   |   | |
| 53 | - |   |   |   |   | |
| 54 | - | |||||
| 55 | - |   | ||||
| 56 | - |   | ||||
| 57 | - |   | ||||
| 58 | - |   | ||||
| 59 | - |   | ||||
| 60 | - |   | ||||
| 61 | - |   |   |   |   | |
| 62 | H_REZS1 | HSG resolver sensor (S1) input signal | IG ON | Differential, Analog | 0 - 3 Vpp sine wave |
|
| 63 | H_REZS3 | HSG resolver sensor (S3) input signal | ||||
| 64 | H_REZS2 | HSG resolver sensor (S2) input signal | IG ON | Differential, Analog | 0 - 3 Vpp sine wave |
|
| 65 | H_REZS4 | HSG resolver sensor (S4) input signal | ||||
| 66 | H_REZ_S | SHEILD | Constant | DC Voltage | Max. 50 mV | |
| 67 | - | |||||
| 68 | M_REZS1 | Motor resolver sensor (S1) input signal | IG ON | Differential, Analog | 0 - 3 Vpp sine wave |
|
| 69 | M_REZS3 | Motor resolver sensor (S3) input signal | ||||
| 70 | M_REZS2 | Motor resolver sensor (S2) input signal | IG ON | Differential, Analog | 0 - 3 Vpp sine wave |
|
| 71 | M_REZS4 | Motor resolver sensor (S4) input signal | ||||
| 72 | M_REZ_S | SHEILD | Constant | DC Voltage | Max. 50 mV | |
| 29 | - | |||||
| 30 | - | |||||
| 31 | ||||||
| 32 | ||||||
| 33 | ||||||
| 34 | ||||||
| 35 | - | |||||
| 36 | ||||||
| 37 | ||||||
| 38 | START_SIGNAL | Start signal input signal | IG ST | DC Voltage | Battery voltage | |
| 39 | - | |||||
| 40 | - | |||||
| 41 | - | |||||
| 42 | HSG_TM_GND | Sensor ground | Constant | DC Voltage | Max. 50 mV | |
| 43 | HSG_TM | HSG temperature sensor input signal | IG ON | Analog | 0 - 5V | |
| 44 | HSG_TM_S | SHEILD | Constant | DC Voltage | Max. 50 mV | |
| 45 | - | |||||
| 46 | - | |||||
| 47 | - | |||||
| 48 | MOT_TM_GND | Sensor ground | Constant | DC Voltage | Max. 50 mV | |
| 49 | MOT_TM | Motor temperature sensor input signal | IG ON | Analog | 0 - 5V | |
| 50 | MOT_TM_S | SHEILD | Constant | DC Voltage | Max. 50 mV | |
| 7 | - | |||||
| 8 | - | |||||
| 9 | - | |||||
| 10 | - | |||||
| 11 | - | |||||
| 12 | - | |||||
| 13 | - | |||||
| 14 | - | |||||
| 15 | BRAKE_SW2 | Brake switch 2 input signal (NC, IG1) | IG ON | DC Voltage | Battery voltage | |
| 16 | BRAKE_SW1 | Brake switch 1 input signal (NO, B+) | Constant | DC Voltage | Battery voltage | |
| 17 | ||||||
| 18 | ||||||
| 19 | ||||||
| 20 | ||||||
| 21 | ||||||
| 22 | ||||||
| 23 | ||||||
| 24 | ||||||
| 25 | ||||||
| 26 | ||||||
| 27 | ||||||
| 28 |
Component location1. HPCU (Hybrid Power Control Unit)(LDC+MCU+HCU+Reservoir)2. Hybrid drive motor3. Hybrid starter generator (HSG)4. Electrical radiator5.
Removal • MCU is integrated with HPCU. Therefore, to install / remove the MCU, follow the procedure for installing / removing the HPCU.
DescriptionThe auto defogging sensor is installed on front window glass. The sensor judges and sends signal if moisture occurs to blow out wind for defogging. The air conditioner control module receives a signal from the sensor and restrains moisture and eliminates defog by the intake actuator, A/C, auto defogging actuator, blower motor rpm and mod
General Safety Information and CautionBe careful of the following precautions when driving the vehicle using the smart cruise control system. • The smart cruise control system may have limits in detecting distance to the vehicle ahead due to road and traffic conditions.