Hyundai Ioniq (AE): AVN System / AVN Antenna. Repair procedures

Inspection
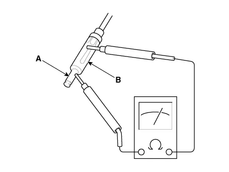
Antenna Cable
1.
Check for continuity between the center poles of antenna cable.

2.
Check for continuity between the outer poles of antenna cable. There should be continuity.

3.
If there is no continuity, replace the antenna cable.
4.
If there is no continuity, replace the antenna amplifier.
5.
Check for continuity between the center pole (A) and outer pole (B) of antenna cable. There should be no continuity.

6.
If there is continuity, replace the antenna cable.
Removal
Roof Antenna
1.
Disconnect the negative (-) battery terminal.
2.
Remove the roof trim.
(Refer to Body - "Roof Trim Assembly")
3.
Disconnect the roof antenna connector (A).

4.
Remove the roof antenna after loosening a nut (A).

LTE Antenna
1.
Disconnect the negative (-) battery terminal.
2.
Remove the cluster.
(Refer to Indicators and Gauges - "Instrument Cluster")
3.
Disconnect the LTE antenna connector.
4.
Remove LTE antenna after loosening mounting screws.

Installation
Roof Anenna
1.
Connect the roof antenna connectors.
2.
Install the roof trim assembly.
   
•
Make sure that the cables and connectors are plugged in properly.
•
Check the audio system.

    ComponentsComponentsRADIO+GNSS+eCallRADIO+GNSSRADIO+GNSS+DAB+eCallRADIO+GPS

    Inspection1.Troubleshooting for Speaker(1)Basic inspection of speakerInspect the sound from speaker after verifying that the speaker mounting screws is removed and the wiring connector is connected precisely to remove vibration transmitted from body trims and surrounding parts.

    Other information:

    Hyundai Ioniq (AE) 2017-2022 Service & Repair Manual: emperature Control Actuator. Repair procedures

    Inspection1.Turn the ignition switch OFF.2.Disconnect the temperature control actuator connector.3.Verify that the temperature control actuator operates to the cool position when connecting 12V to terminal 3 and grounding terminal 7.Verify that the temperature control actuator operates to the warm position when connected in reverse.

    Hyundai Ioniq (AE) 2017-2022 Service & Repair Manual: Front View Camera Unit. Repair procedures

    Removal1.Disconnect the negative (-) battery terminal.2.Remove the front view camera cover (A).3.Disconnect the front view camera connector (A).4.Remove the front view camera after disengaging the mounting bracket (A).Installation1.Align front view camera with windshield bracket using forward edge point (A).

    Categories

     
    Copyright © 2026 www.hioniqae.com - 0.0278