Hyundai Ioniq (AE): Rear Suspension System / Rear Shock Absorber. Repair procedures

Removal
1.
Loosen the wheel nuts slightly.
Raise the vehicle, and make sure it is securely supported.
2.
Remove the rear wheel and tire (A) from the rear hub.
Tightening torque :
107.9 - 127.5 N.m (11.0 - 13.0 kgf.m, 79.6 - 94.0 lb-ft)

   
•
Be careful not to damage the hub bolts when removing the rear wheel and tire (A).
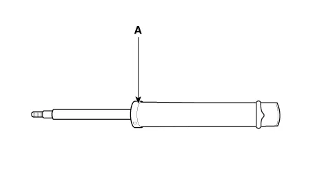
3.
Remove the rear shock absorber (A) from the frame by loosening the bolt.
Tightening torque :
58.8 - 73.5 N.m (6.0 - 7.5 kgf.m, 43.4 - 54.2 lb-ft)

4.
Loosen the bolt & nut and then remove the rear shock absorber (A) from the torsion beam axle.
Tightening torque :
98.1 - 117.7 N.m (10.0 - 12.0 kgf.m, 72.3 - 86.8 lb-ft)

5.
Install in the reverse order of removal.
Disassembly
1.
Remove the lock nut cover (A).

2.
Using the special tool (09546-3X100), install the self locking nut.

3.
Separate the bracket assembly (A), bumper rubber (B), dust cover (C), shock absorber (D).

Disposal
1.
Remove the strike cap (A) from the shock absorber assembly.
2.
Remove the gas by Drilling a hole in the inner oil seal.

   
•
The gas coming out is harmless but be careful of chips that may fly when drilling.
Reassembly
1.
To reassembly, reverse the disassembly procedure.
2.
Using SST (09546-3X100), install the lock nut.
Tightening torque :
19.6 - 24.5 N.m (2.0 - 2.5 kgf.m, 14.5 - 18.1 lb-ft)

   
•
Do not reuse the self locking nut.
3.
Install the lock nut cover (A).

    Components1. Shock absorber dust cap2. Lock nut3. Insulator assembly 4. Bumper rubber5. Dust cover6. Shock absorber

    Removal1.Loosen the wheel nuts slightly.Raise the vehicle, and make sure it is securely supported.2.Remove the rear wheel and tire (A) from the rear hub.

    Other information:

    Hyundai Ioniq (AE) 2017-2022 Service & Repair Manual: A/C Pressure Transducer. Description and operation

    DescriptionThe A/C Pressure Transducer (APT) converts the pressure value of high pressure line into voltage value after measuring it. By converted voltage value, engine ECU controls the cooling fan by operating it high speed or low speed. Engine ECU stops the operation of the compressor when the temperature of refrigerant line is very high or very

    Hyundai Ioniq (AE) 2017-2022 Service & Repair Manual: Front View Camera Unit. Repair procedures

    Removal1.Disconnect the negative (-) battery terminal.2.Remove the front view camera cover (A).3.Disconnect the front view camera connector (A).4.Remove the front view camera after disengaging the mounting bracket (A).Installation1.Align front view camera with windshield bracket using forward edge point (A).

    Categories

     
    Copyright © 2026 www.hioniqae.com - 0.0242