Hyundai Ioniq (AE): Timing System / Timing Chain. Repair procedures

Removal
   
•
Be sure to read and follow the "General Safety Information and Caution" before doing any work related with the high voltage system. Failure to follow the safety instructions may result in serious electrical injuries.
•
Be sure to read and follow the "High Voltage Shut-off Procedures" before doing any work related with the high voltage system. Failure to follow the safety instructions may result in serious electrical injuries.
1.
Shut off the high voltage circuit.
(Refer to General Information - "High Voltage Shutoff Procedure")
2.
Disconnect the battery negative terminal.
3.
Remove the cylinder head cover.
(Refer to Cylinder Head Assembly - "Cylinder Head Cover")
4.
Set No.1 cylinder to TDC (Top dead center) on compression stroke.
(1)
Turn the crankshaft damper pulley and align its groove with the timing mark of the timing chain cover.

5.
Remove the timing chain cover.
(Refer to Timing System - "Timing Chain Cover")
6.
Put paint marks on the timing chain links (3 places) that meet with the timing marks of the camshaft sprockets (In, Ex : 2) and the crankshaft sprocket.
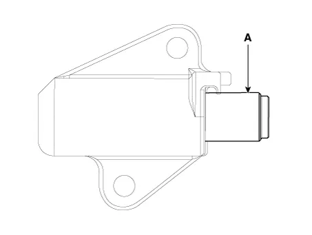
7.
Remove the timing chain tensioner (A).

   
•
Do not reuse the detached tensioner.
•
If need to reuse the tensioner, remove the tensioner, make the piston (A) to protrude maximally, push the piston (A) to the end, and then mount the stopper pin.
At this time, the tensioner fixing pin should be placed in the same way as when the product was first delivered from the factory.

8.
Remove the timing chain tensioner arm (A).

9.
Remove the timing chain guide (A).

10.
Remove the timing chain cam guide (A).

11.
Remove the timing chain (A).

Inspection
Sprockets, Chain Tensioner, Chain Guide, Chain Tensioner Arm
1.
Check the camshaft sprocket and crankshaft sprocket for abnormal wear, cracks, or damage. Replace as necessary.
2.
Inspect the tensioner arm and chain guide for abnormal wear, cracks, or damage. Replace as necessary.
3.
Check that the tensioner piston moves smoothly.
Installation
1.
Install the timing chain.
Crankshaft sprocket → Intake CVVT sprocket → Exhaust CVVT sprocket
(1)
Install the timing chain with no slack between the crankshaft sprocket and the intake CVVT sprocket.

   
•
The timing marks of each sprocket should be matched with timing marks (color link) of timing chain when installing the timing chain.
2.
Install the timing chain cam guide (A).
Tightening torque :
9.8 - 11.8 N.m (1.0 - 1.2 kgf.m, 7.2 - 8.7 lb-ft)

3.
Install the timing chain guide (A).
Tightening torque :
9.8 - 11.8 N.m (1.0 - 1.2 kgf.m, 7.2 - 8.7 lb-ft)

4.
Install the timing chain tensioner arm (A).
Tightening torque :
9.8 - 11.8 N.m (1.0 - 1.2 kgf.m, 7.2 - 8.7 lb-ft)

5.
Install the timing chain tensioner (A) and remove the stopper pin.
Tightening torque :
9.8 - 11.8 N.m (1.0 - 1.2 kgf.m, 7.2 - 8.7 lb-ft)

   
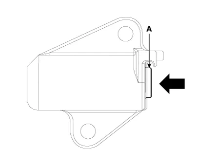
•
When reinstall the tensioner, check the ratchet function of the tensioner after removing the fixing pin by retracting the tensioner arm (A) maximally as shown below.
•
When maximally retracted, there should be no interference between the tensioner arm (A) and tensioner housing (B).

6.
Install the other parts in the reverse order of removal.
7.
Add all the necessary fluids and check for leaks. Connect GDS. Check for codes, note, and clear. Recheck.
   
•
Refill engine with engine oil.
•
Clean battery posts and cable terminals and assemble (12 Volt only).
•
Inspect for fuel leakage.
–
After assembling the fuel line, turn on the ignition switch so that the fuel pump runs for approximately two seconds and fuel line pressurizes.
–
Repeat this operation two or three times, then check for fuel leakage at any point in the fuel line.

    Components1. Timing chain2. Timing chain guide3. Timing chain tensioner arm4. Timing chain tensioner

    Other information:

    Hyundai Ioniq (AE) 2017-2022 Service & Repair Manual: Ambient Temperature Sensor. Description and operation

    DescriptionThe ambient temperature sensor is located at the front of the condenser and detects ambient air temperature. It is a negative type thermistor; resistance will increase with lower temperature, and decrease with higher temperature.The sensor output will be used for discharge temperature control, temperature regulation door contrl, blower m

    Hyundai Ioniq (AE) 2017-2022 Service & Repair Manual: Description and operation

    DescriptionRear view monitor (RVM) will activate when the backup light is ON with the ignition switch ON and the shift lever in the R position.This system is a supplemental system that shows behind the vehicle through the AV monitor while backing-up.    â€¢ This system is a supplementary function only.

    Categories

     
    Copyright © 2026 www.hioniqae.com - 0.0108