Hyundai Ioniq (AE): Dual Clutch Transmission Control System / Description and operation
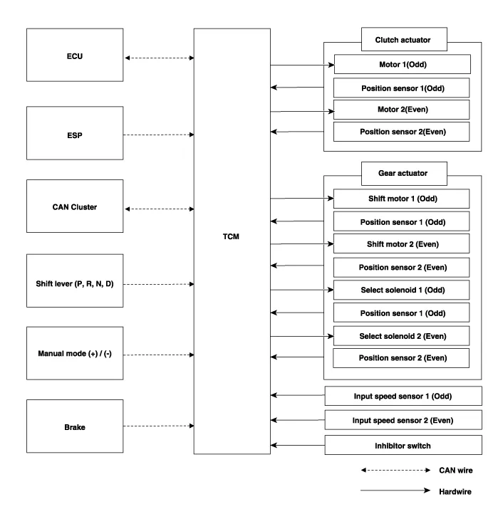
The Dual Clutch Transmission (DCT) control system measures required data to identify the state of the control target and computes the appropriate compensation value if adjustment is necessary. The actuator is controlled according to the computed compensation value to obtain desired output.
If transmission or driving-performance-related failure is detected, first perform self-diagnosis and basic transmission inspection (oil check).
Then use the diagnostic tool to inspect the transmission control system components.


Components1. Dual Clutch Transmission (DCT) Assembly2. Hybrid Motor Assembly3. Shift Lever4. DCT Control Module (TCM)
Other information:
C
Removal1.Disconnect the negative (-) battery terminal.2.Remove the steering wheel assembly.(Refer to Steering System - "Steering Wheel")3.Remove the steering back cover (A).4.Remove the steering remote control connector (A).5.Remove the steering remote control after loosening the screws.