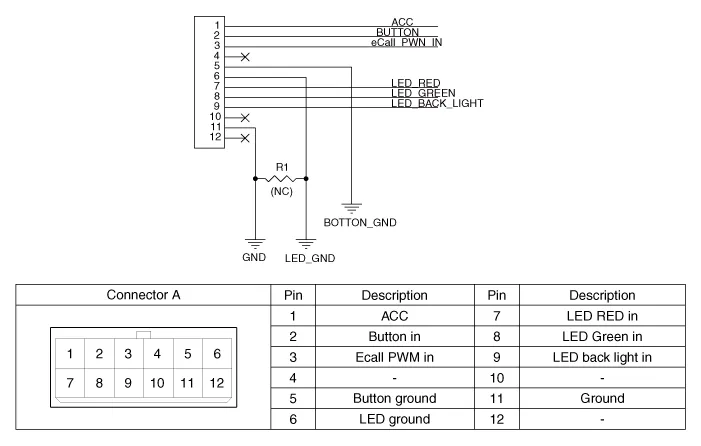
| SCHEMATIC DIAGRAM |

Removal You must make sure turn RED LED ON if you do any of the following.– Replace the eCall unit.– Replace the Back-up Battery (BUB).
Removal1.Disconnect the negative (-) battery terminal.2.separate the overhead console (A) from the roof trim after loosening the mounting screws.3.Remove the overhead console (A) after disconnecting the connector (A)Installation1.
DescriptionThe A/C Pressure Transducer (APT) converts the pressure value of high pressure line into voltage value after measuring it. By converted voltage value, engine ECU controls the cooling fan by operating it high speed or low speed. Engine ECU stops the operation of the compressor when the temperature of refrigerant line is very high or very
DescriptionThe smart cruise control system allows a driver to program the vehicle to control the speed and following distance by detecting the vehicle ahead without depressing the brake pedal and the accelerator pedal.1.Cruise speed control : The vehicle maintains the selected speed if there are not vehicles ahead.