Hyundai Ioniq (AE): AHB(Active Hydraulic Boost) System / Repair procedures
| AHB Brake System Bleeding Procedure |
Air Bleeding Tool Installation Procedure
| •
| To prevent the brake fluid reservoir tank from beingdamaged and ensure the safety of worker, set thepressure of the gauge to the standard value beforeinstalling the SST. |
|
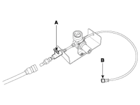
| 1. | Before installing the SST on the vehicle, close the airshut-off valve (A) to adjust the pressure gauge to thestandard value. 
| •
| For safety of worker and correct pressure setting,make sure that the plug (B) is installed correctly. |
|
|
| 2. | After connecting an air hose and opening the airshut-off valve (A), adjust the pressure gauge (B) withto the standard value. Standard pressure value : 0.3 - 0.35 MPa (43.5 - 50.7 psi) |

|
| 3. | close the air shut off valve (A) and remove the plug (B). 
| •
| For safety of worker, make sure that the air shut offvalve is closed and remove the plug. |
|
|
| 4. | Remove the brake reservoir tank cap. |
| 5. | Install the cap (A) of SST (0K585-E8100) on thereservoir tank. 
|
| 6. | Make sure the check valve (A) is closed and connect SST (09580-3D100) (A) to the adapter (B). 
|
Air Bleeding Tool Removal Procedure
| 1. | To remove the SST (09580-3D100) from the vehicle,close the air shut-off valve (A) first. 
|
| 2. | Remove SST (09580-3D100) and the cap of SST (0K585-E8100) on the reservoir tank. 
| •
| To prevent backflow of brake fluid, be sure to open the air shut-off valve slowly then bleed air in the reservoir tank. |
|
|
| 3. | Inatall the brake reservoir tank cap. |
AHB Brake System
| Bleeding Step 1 (IBAU ECU OFF) |
| •
| IBAU filled with brake oil should be used for bleeding. |
|
| 1. | Disconnect the negative (-) battery terminal to turn off IBAU ECU. |
| 2. | Set the air bleeding tool (SST : 09580-3D100) and the cap of SST (0K585-E8100) to reservoir tank and make pressure (0.3 - 0.35 MPa (43.5 - 50.7 psi)) to it. 
|
| 3. | Initiate air bleeding on all bleed screws in the following sequences until air bubbles no longer appear in the fluid. After air bleeding, close the bleed screws. â‘ IBAU (2 bleed srews) â‘¡ 4 wheels (RR -> RL -> FR -> FL) 
|
| 4. | Perform air bleeding while stepping on the brake pedal and opening bleed screws; then, close bleed screws and release the brake pedal. Perform this procedure 10 times. | –
| Bleed screw sequence : â‘ IBAU (2 bleed srews) â‘¡ 4 wheels (RR -> RL -> FR -> FL) |
| –
| Repeat it until air bubbles no longer appear in the fluid |
| –
| Be cautious that air come in the brake line with opening the bleed screws too much. |
|
| Bleeding Step 2 (IBAU ECU ON) |
| 1. | Connect the negative (-) battery terminal to turn on IBAU ECU. |
| 3. | Set the front wheels straight forward and the shift lever knob in Parking. |
| 4. | If the ESC function is completely turned off after about 3 seconds with the ESC Off switch held down, hold the ESC OFF switch and operate the brake pedal 10 times in full stroke. And then turn off the engine. | •
| When stepping on the brake pedal, press 40mm or more, and when releasing it, press down 10mm or less. |
| •
| The ESC OFF switch must be held down until the pedal operation is finished and the engine is turned off. |
|
|
| 5. | Start the engine. And then press the ESC OFF switch for more than 3 seconds to enter ESC OFF mode. | •
| Running from 1 to 5, you can enter the air bleeding mode. |
| •
| If you do not air bleeding in air bleeding mode, it will not work properly. |
| •
| The ABS, ESC OFF, EBD warning lamp is turned ON can be confirmed the entry into the air bleeding mode. |
| •
| The air bleeding mode process should be completed within 30 seconds. |
|
The air bleeding mode is released in each following condition. | •
| Igniton OFF and shift lever knob in D/R/N |
| •
| Brake fluid level is under "MIN" |
| •
| ESC off mode released |
|
|
| 6. | Use the air bleeding tool (SST : 09580-3D100, 0K585-E8100) and feed oil pressure 0.3 - 0.35 MPa (43.5 - 50.7 psi) into the reservoir. Loosen the bleed screws on 4 wheels; then, initiate air bleeding and close them while depressing the brake pedal half stroke continuously. Perform it 10 times; then, release the brake pedal. Bleed screw sequence : â‘¢ 4 wheels 
| •
| Repeat it until air bubbles no longer appear in the fluid. |
| •
| Be cautious that air come in the brake line with opening the bleed screws too much. |
|
|
| 7. | Connect the GDS to the data link connector located underneath the dash panel and perform "Fluid Circulation Mode" on GDS. |
Terminal FunctionIBAU Connector Input / Output
No
Description
No
Description
1E/R Fuse & Relay Box(Multi Fuse - AHB)24Electric Parking Brake Switch(Auto Hold Swutch)2PSU Motor (+)25-3-26Parking Brake Switch4Shield Cable Ground27Rear Wheel Sensor LH (SIG)5E/R Fuse & Relay BoxPSU Motor (GND)28Front Wheel Sensor LH (SIG)6Brake Pedal Module (PDT PWR) 29Driver Door Switch7Brake Pedal Module (PDF PWR)30E/R Fuse & Relay Box(Multi Fuse - AHB 2)8E/R Fuse & Relay Box(Stop Signal Electronic Module)31Brake Pedal Module (PDF GND)9-32-10Brake Pedal Module (PDT GND)33Rear Wheel Sensor LH (VCC)11Shield Cable Ground34Rear Wheel Sensor RH (VCC)12-35-13PSU Motor (-)36Brake light switch14Ground 37-15-38C-CAN (High)16Crash Pad Switch (ESC OFF Switch)39C-CAN (Low)17Front Wheel Sensor LH (VCC)40Vehicle Speed :Smart Key Control Module, PCM18Front Wheel Sensor RH (VCC)41-19P-CAN (High)42Front Wheel Sensor RH (SIG)20P-CAN (Low)43Rear Wheel Sensor RH (SIG)21ESS Drive44Stop Lamp Switch22Brake Pedal Module (PDT SIG)45- 23Brake Pedal Module (PDF SIG)46Ground (GE06)
Components
•
IBAU (Intergrated Brake Actuation Unit) must not be disassembled.1. Intergrated Brake Actuation Unit (IBAU) ECU2.
Other information:
Diagnosis With GDS1.The heating, ventilation and air conditioning can be quickly diagnosed failed parts with vehicle diagnostic system (GDS).※ The diagnostic system (GDS) provides the following information.(1) Self diagnosis : Checking the failure code (DTC) and display.
DescriptionThe auto defogging sensor is installed on front window glass. The sensor judges and sends signal if moisture occurs to blow out wind for defogging. The air conditioner control module receives a signal from the sensor and restrains moisture and eliminates defog by the intake actuator, A/C, auto defogging actuator, blower motor rpm and mod