Hyundai Ioniq (AE): Engine Mechanical System / Special service tools

Special Service Tools
Tool (Number and name)
Illustration
Use
Crankshaft damper pulley adapter
(09231-2M100)
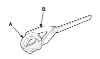
Crankshaft damper pulley adapter holder
(09231-2J210)

Removal and installation of crankshaft damper pully bolt.
A : 09231-2M100
B : 09231-2J210
Torque angle adapter
(09221-4A000)

Installation of bolts & nuts needing an angular method
Valve stem seal installer
(09222-G2100)

Installation of the valve stem seal
Valve spring compressor & holder
(09222-3K000)
(09222-3K100)

Removal and installation of the intake or exhaust valves
A : 09222-3K000
B : 09222-3K100 (holder)
Crankshaft front oil seal installer
(09231-G2100)
(09231-H1100)

Installation of the crankshaft front oil seal
A : 09231-G2100
B : 09231-H1100 (Handle)
Valve stem seal remover
(09222-29000)

Removal of the valve stem seal
Crankshaft rear oil seal installer
(09231-G2200)
(09231-H1100)

Installation of the crankshaft rear oil seal
A : 09231-G2200
B : 09231-H1100 (Handle)
Oil pan remover
(09215-3C000)

Removal of oil pan
Oil filter wrench
(09263-2E000)

Removal and installation of oil filter
Hydraulic tensioner
compressor
(09244-G2100)

Removal and installation of the hydraulic tensioner

    Troubleshooting Symptom Suspect area Remedy Engine misfire with abnormal internal lower engine noises.

    Other information:

    Hyundai Ioniq (AE) 2017-2022 Service & Repair Manual: Auto Defogging Sensor. Repair procedures

    Diagnosis With GDS1.The heating, ventilation and air conditioning can be quickly diagnosed failed parts with vehicle diagnostic system (GDS).※ The diagnostic system (GDS) provides the following information.(1) Self diagnosis : Checking the failure code (DTC) and display.

    Hyundai Ioniq (AE) 2017-2022 Service & Repair Manual: Auto Defoging Actuator. Description and operation

    DescriptionThe auto defogging sensor is installed on front window glass. The sensor judges and sends signal if moisture occurs to blow out wind for defogging. The air conditioner control module receives a signal from the sensor and restrains moisture and eliminates defog by the intake actuator, A/C, auto defogging actuator, blower motor rpm and mod

    Categories

     
    Copyright © 2026 www.hioniqae.com - 0.0283